Product Summary
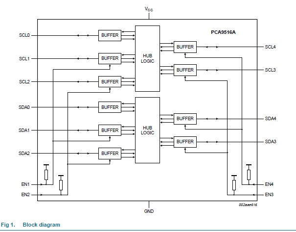
The PCA9516APW is a CMOS integrated circuit intended for application in I2C-bus and SMBus systems. While retaining all the operating modes and features of the I2C-bus system, it permits extension of the I2C-bus by buffering both the data (SDAn) and the clock (SCLn) lines, thus enabling five buses of 400 pF. The I2C-bus capacitance limit of 400 pF restricts the number of devices and bus length. Using the PCA9516APW enables the system designer to divide the bus into five segments off of a hub where any segment-to-segment transition sees only one repeater delay. The PCA9516APW can also be used to run different buses at 5 V and 3.3 V or 400 kHz and 100 kHz buses where the 100 kHz bus is isolated when 400 kHz operation of the other bus is required.
Parametrics
PCA9516APW absolute maximum ratings: (1)VCC supply voltag: -0.5 +7 V; (2)Vbus voltage range I2C-bus SCLn or SDAn: -0.5, +7 V; (3)I DC current any pin: 50 mA; (4)Ptot total power dissipation: 300 mW; (5)Tstg storage temperature: -55, +125 °C; (6)Tamb ambient temperature operating: -40, +85 °C.
Features
PCA9516APW features: (1)5 channel, bidirectional buffer; (2)I2C-bus and SMBus compatible; (3)Active HIGH individual repeater enable input; (4)Open-drain input/outputs; (5)Lock-up free operation; (6)Supports arbitration and clock stretching across the repeater; (7)Accommodates Standard-mode and Fast-mode I2C-bus devices and multiple masters; (8)Powered-off high-impedance I2C-bus pins; (9)Operating supply voltage range of 2.3 V to 3.6 V; (10)5.5 V tolerant I2C-bus and enable pins.
Diagrams

| Image | Part No | Mfg | Description | ![]() |
Pricing (USD) |
Quantity | ||||||||||||
|---|---|---|---|---|---|---|---|---|---|---|---|---|---|---|---|---|---|---|
![]() |
![]() PCA9516APW |
![]() NXP Semiconductors |
![]() I/O Expanders, Repeaters & Hubs I2C BUS HUB 5-CH |
![]() Data Sheet |
![]() Negotiable |
|
||||||||||||
![]() |
![]() PCA9516APW,112 |
![]() NXP Semiconductors |
![]() I/O Expanders, Repeaters & Hubs I2C BUS HUB 5-CH |
![]() Data Sheet |
![]()
|
|
||||||||||||
![]() |
![]() PCA9516APW,118 |
![]() NXP Semiconductors |
![]() I/O Expanders, Repeaters & Hubs 5-CHANNEL I2C HUB |
![]() Data Sheet |
![]()
|
|
||||||||||||
(China (Mainland))









